

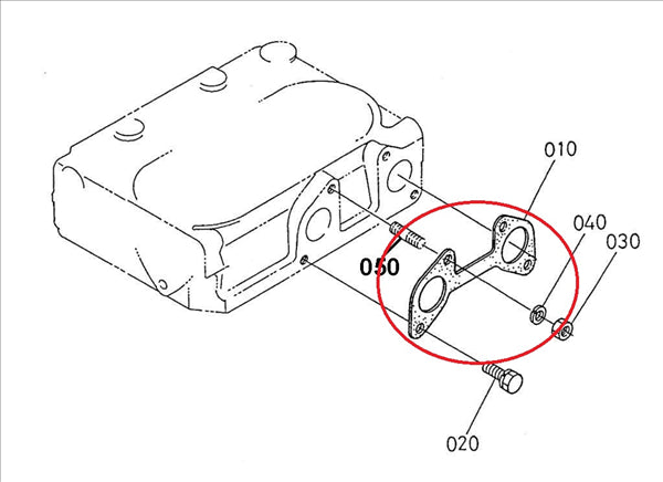
K158521235 GUARNIZIONE SCARICO COLLETTORE MOTORE KUBOTA Z402 Z482 AIXAM
COMPATIBILE CON I SEGUENTI MODELLI DI MINIVETTURE:PRODOTTO "ORIGINALE"MOTORI > Motore Kubota 400cc Z402 bicilindrico MOTORI > Motore Kubota 500cc Z482 bicilindrico
ACQUISTO SICURO
- Sistema Protetto
- Spedizioni / Resi
- Rispetto della Privacy
VENDUTO NEGLI ULTIMI ORE
FRETTA! SOLTANTO RIMANENTE IN MAGAZZINO
